又一跨境公司倒闭,员工曾有600人
9 月 4 日,永生电器深圳有限公司(下称“永生电器”)发布公告称“决定清算公司”。这家拥有数十年历史、员工规模曾达 600 人的港资跨境商,在一周内便从股东决议走到正式清算。
曾经,永生电器凭借传统代工模式和低价策略,在跨境市场中占据一席之地,然而如今却因未能跟上技术创新与数字化转型的步伐而陷入困境。究其根源,其倒闭与长期依赖代工模式、缺乏自主品牌与技术投入不无关系。加上国际市场环境变化,跨境电商平台价格战的双重挤压,最终导致资金链断裂。
而今年来,倒闭的跨境厂商今年已屡见不鲜,甚至形成了“倒闭潮”。这意味着,依靠低价竞争和粗放扩张的时代已悄然结束,技术壁垒与品牌价值或正成为跨境贸易的新分水岭。传统跨境厂商该如何在倒闭潮中屹立不倒成为当下迫在眉睫的问题。
老牌港资跨境大厂倒闭
天眼查显示,永生电器的实控人为永生胶木电器厂有限公司(下称“永生胶木”),是港资企业。而永生胶木成立于 1972 年,目前为仍注册状态。

图源:天眼查
根据永生胶木官网介绍,其是以生产电木开关及灯座产品起家。上世纪七八十年代开始经营厨房电器用品,照明电器用品,汽车用配件等。之后适逢改革开放,其便于 1987 年在深圳宝安区设厂,也就是永生电器的前身。之后逐渐发展壮大,永生电器2021 年迁入了深圳市宝安沙井街道办沙头西部工业园。
近几年,永生电器主要制造和销售电热发钳、电热发夹、卷发器、染发器、电热茶壶、五金件、咖啡机等电器产品,销往美国,加拿大,英国,欧洲及日本等多个国家。国外的专业发型师以及大型国际美发品牌是永生电器的主要客户。

图源:永生胶木官网
从发展历程来看,2012 年至 2022 年的十年间,是永生电器的巅峰期。彼时其员工人数一度达到 600 人,年产量超过 300 万台,厂房面积达4万平方米。
这样一家一步一步发展壮大的企业,其解散让市场感到相当突然。永生电器于 2025 年 8 月 29 日表决通过提前解散的决议,随后在 9 月 4 日就正式发布公告。随后清算小组随后进驻,依法开始处理债权债务事宜。这一切仅仅发生在一周内。

图源:网络
具体来看,2025 年 9 月 4 日,永生电器发布公告“今天发文决定清算公司了,因公司经营发生严重困难,继续存续会增加公司的经营风险,可能使股东利益受到更大损失。所以,公司股东于 2025 年 8 月 29 日作出重要决定,提前解散公司,以公司现有的资产清偿公司债权债务。”
截至目前,天眼查显示该公司的参保人数为 188 人,对比巅峰时期的 600 人规模,裁员或许已持续了一段时间了。
至于员工的处理问题,永生电器表示,员工工资在公司劳动关系终止日通过银行转账方式结算工资,员工的补偿金从清算财产中按照比例分配。
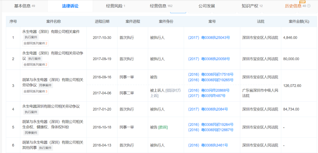
由于属于永生电器单方面提出解除劳动关系,这百余名员工按照劳动法应给予 N+1 等赔偿,但从永生电器的现状来看,其财务令人担忧。另外,从此前永生电器的经营信誉来看,其在 2017 年曾因多起劳动争议案件被列为被执行人,员工是否能得到足额赔偿存在未知数。

图源:天眼查
跨境厂商迎来倒闭潮
永生电器的倒下,是自身的发展后劲不足,同时也是市场环境光速变化洪流中的一个代表。
永生电器是一家外向型企业,其早期的成功主要得益于几点:一是抓住了全球家电需求旺盛和中国制造成本优势的红利期;二是依托深圳便利的外贸条件;三是永生电器具备垂直整合的生产能力(涵盖金属加工、注塑、电镀、喷涂、电子组装等环节),能提供一站式的代工解决方案,能够为其他跨境品牌提供代工(OEM)服务。
这样的模式在过去是吃香的,但永生电器经营异常记录中提及的“异常热、传导连续骚扰、空气放电”等技术性描述,在粗放铺货的商业模式下,低成本优先的战略可能会导致品控不足。
同时,永生电器迟迟未建立强大的自主品牌。后期永生电器仍以传统外贸模式为主,较为依赖代工和低价策略,传统制造商的商业模式在如今的市场环境中已显现脆弱。早在两年前,永生电器就曾发布“停产六个月”的通知,之后屡次出现间歇性停工,这或表明,永生电器受市场影响已非一朝一夕,而是一步步地衰落。
当然,永生电器的轰然倒塌,也是外部环境压力、行业内部激烈竞争共同作用的结果。
其所在的深圳宝安区早在 2020 年就被评为国家级“工业互联网示范基地”,并持续推动制造业向高质量发展转型,强调通过技术创新和数字化(如工业互联网)提升竞争力。显然,永生电器未能跟上这一转型步伐。它长期依赖的传统代工模式和低价竞争策略,在日益强调技术、品牌和附加值的新的竞争环境中难以持续。
值得关注的是,今年来,倒闭的跨境厂商并不止这一家。今年 8 月 31 日,惠州华讯电子有限公司(以下简称“惠州华讯”)发布了一则结业通告,宣告了这个扎根珠三角多年的知名电子外贸工厂进入了关停倒计时。资料显示,惠州华讯成立于 1998 年 8 月,是一家港澳台法人独资的老牌制造企业,主要从事工程塑料制品、塑胶合金、网络分配器及端子的生产制造,产品全部为外销。
紧跟着,9 月 4 日,东莞市安道迩科技有限公司也宣布解散。资料显示,安道迩主营业务是电子、五金等,主要产品是电子烟。其称由于近年来市场竞争加剧、经营成本持续上涨、订单量急速萎缩,使得公司陷入困境。时至今日已扭亏无望,生产经营难以为继,因此安道迩决定于 2025 年 9 月 2 日开始停产结业,并正式进入到解散清算程序。

图源:网络
除了以上,近期,迅达电器配件(深圳)有限公司等也称因经营不善决定提前解散公司。深究这些外贸工厂倒闭的背后,其实与永生电器存在共同的难题。它们的商业模式偏向于传统模式,对外依存度极高,企业缺乏创新意识、过度依赖单一市场等,一旦市场需求发生变化,这些跨境厂商受到影响较大。
倒闭潮中如何屹立不倒
这一波跨境厂商的倒闭潮,也引起了同行的警觉。当前,跨境行业已从蓝海转变为红海,仍在坚持的跨境卖家也不能高枕无忧。
根据 AMZ123 的调查,2024 年超过六成跨境卖家表示净利润较 2023 年有所下滑,其中 32% 的卖家净利润下滑幅度超过了 50%。尤其是当外部成本上升时,以低价为核心的传统企业无法通过提价来转嫁成本,只能被迫牺牲利润。加上持续上涨的物流仓储费和营销广告费,对利润是个巨大的挑战。
此外,跨境企业较为缺乏高阶的跨境电商运营人才,如数据分析、品牌营销专家,导致无法实施精细化管理。这种人才结构与当前行业对精细化运营、数据驱动决策的需求脱节。
同时,知识产权侵权和仿品问题也普遍存在,一旦跨境卖家的账户因违规被封,不仅周期漫长,还可能直接导致资金链断裂,这对于员工数量在 50 人以下的中小企业而言,往往是致命一击。
虽然部分上市的跨境电商巨头如安克创新、巨星科技等能够实现营收过百亿,并实现了正向增长,但这种头部企业的繁荣与大多数中小企业的利润断崖式下跌形成了反衬。
这也表明跨境电商行业正在经历一场“强者恒强、弱者出局”的残酷洗牌,未来的竞争会愈发激烈。2025 年的行业“倒闭潮”是市场优胜劣汰的必然结果,它传递了一个明确的信号,即依赖低价和粗放铺货的传统商业模式或许已走到尽头。
那么未来传统跨境厂商该何去何从?从当前的发展趋势来看,未来跨境卖家更倾向于构建多平台、多渠道的立体化销售网络,从而实现全链路触达。企业需要打破单一依赖,将业务从亚马逊等主流平台,拓展到沃尔玛、eBay、Lazada、乐天等其他平台,并积极发展自身的独立站和社交媒体渠道。
从成功的案例来看,日化香料生产商辽宁德罗西化学科技有限公司的转型,主要通过自建跨境电商独立站,上半年外贸出口额同比增长 60%。卫浴产品外贸工厂杭州富瑞浦电子商务有限公司则是通过入驻第三方平台,直接触达更多消费者,提升供应链选品及品牌孵化能力。

图源:富瑞浦官网
此外,成功转型的还有杭州嘉云数据、杭州维丽杰旅行用品有限公司、杰晞品牌管理(杭州)有限公司等,它们或利用大数据技术驱动平台化运营,或自建团队与海外仓、品牌建设(自创+收购),或通过本地化仓储等,积极拥抱渠道变革,从“中国制造”向“中国品牌”转型。
总的来说,国内传统跨境企业向跨境电商转型,并非简单的渠道更替,而是一场涉及战略转换、组织架构、产品开发、品牌塑造和供应链管理的全方位深度变革。需要企业保持持续学习的心态和快速试错、迭代优化的能力。


9 月 4 日,永生电器深圳有限公司(下称“永生电器”)发布公告称“决定清算公司”。这家拥有数十年历史、员工规模曾达 600 人的港资跨境商,在一周内便从股东决议走到正式清算。
曾经,永生电器凭借传统代工模式和低价策略,在跨境市场中占据一席之地,然而如今却因未能跟上技术创新与数字化转型的步伐而陷入困境。究其根源,其倒闭与长期依赖代工模式、缺乏自主品牌与技术投入不无关系。加上国际市场环境变化,跨境电商平台价格战的双重挤压,最终导致资金链断裂。
而今年来,倒闭的跨境厂商今年已屡见不鲜,甚至形成了“倒闭潮”。这意味着,依靠低价竞争和粗放扩张的时代已悄然结束,技术壁垒与品牌价值或正成为跨境贸易的新分水岭。传统跨境厂商该如何在倒闭潮中屹立不倒成为当下迫在眉睫的问题。
老牌港资跨境大厂倒闭
天眼查显示,永生电器的实控人为永生胶木电器厂有限公司(下称“永生胶木”),是港资企业。而永生胶木成立于 1972 年,目前为仍注册状态。

图源:天眼查
根据永生胶木官网介绍,其是以生产电木开关及灯座产品起家。上世纪七八十年代开始经营厨房电器用品,照明电器用品,汽车用配件等。之后适逢改革开放,其便于 1987 年在深圳宝安区设厂,也就是永生电器的前身。之后逐渐发展壮大,永生电器2021 年迁入了深圳市宝安沙井街道办沙头西部工业园。
近几年,永生电器主要制造和销售电热发钳、电热发夹、卷发器、染发器、电热茶壶、五金件、咖啡机等电器产品,销往美国,加拿大,英国,欧洲及日本等多个国家。国外的专业发型师以及大型国际美发品牌是永生电器的主要客户。

图源:永生胶木官网
从发展历程来看,2012 年至 2022 年的十年间,是永生电器的巅峰期。彼时其员工人数一度达到 600 人,年产量超过 300 万台,厂房面积达4万平方米。
这样一家一步一步发展壮大的企业,其解散让市场感到相当突然。永生电器于 2025 年 8 月 29 日表决通过提前解散的决议,随后在 9 月 4 日就正式发布公告。随后清算小组随后进驻,依法开始处理债权债务事宜。这一切仅仅发生在一周内。

图源:网络
具体来看,2025 年 9 月 4 日,永生电器发布公告“今天发文决定清算公司了,因公司经营发生严重困难,继续存续会增加公司的经营风险,可能使股东利益受到更大损失。所以,公司股东于 2025 年 8 月 29 日作出重要决定,提前解散公司,以公司现有的资产清偿公司债权债务。”
截至目前,天眼查显示该公司的参保人数为 188 人,对比巅峰时期的 600 人规模,裁员或许已持续了一段时间了。
至于员工的处理问题,永生电器表示,员工工资在公司劳动关系终止日通过银行转账方式结算工资,员工的补偿金从清算财产中按照比例分配。
由于属于永生电器单方面提出解除劳动关系,这百余名员工按照劳动法应给予 N+1 等赔偿,但从永生电器的现状来看,其财务令人担忧。另外,从此前永生电器的经营信誉来看,其在 2017 年曾因多起劳动争议案件被列为被执行人,员工是否能得到足额赔偿存在未知数。

图源:天眼查
跨境厂商迎来倒闭潮
永生电器的倒下,是自身的发展后劲不足,同时也是市场环境光速变化洪流中的一个代表。
永生电器是一家外向型企业,其早期的成功主要得益于几点:一是抓住了全球家电需求旺盛和中国制造成本优势的红利期;二是依托深圳便利的外贸条件;三是永生电器具备垂直整合的生产能力(涵盖金属加工、注塑、电镀、喷涂、电子组装等环节),能提供一站式的代工解决方案,能够为其他跨境品牌提供代工(OEM)服务。
这样的模式在过去是吃香的,但永生电器经营异常记录中提及的“异常热、传导连续骚扰、空气放电”等技术性描述,在粗放铺货的商业模式下,低成本优先的战略可能会导致品控不足。
同时,永生电器迟迟未建立强大的自主品牌。后期永生电器仍以传统外贸模式为主,较为依赖代工和低价策略,传统制造商的商业模式在如今的市场环境中已显现脆弱。早在两年前,永生电器就曾发布“停产六个月”的通知,之后屡次出现间歇性停工,这或表明,永生电器受市场影响已非一朝一夕,而是一步步地衰落。
当然,永生电器的轰然倒塌,也是外部环境压力、行业内部激烈竞争共同作用的结果。
其所在的深圳宝安区早在 2020 年就被评为国家级“工业互联网示范基地”,并持续推动制造业向高质量发展转型,强调通过技术创新和数字化(如工业互联网)提升竞争力。显然,永生电器未能跟上这一转型步伐。它长期依赖的传统代工模式和低价竞争策略,在日益强调技术、品牌和附加值的新的竞争环境中难以持续。
值得关注的是,今年来,倒闭的跨境厂商并不止这一家。今年 8 月 31 日,惠州华讯电子有限公司(以下简称“惠州华讯”)发布了一则结业通告,宣告了这个扎根珠三角多年的知名电子外贸工厂进入了关停倒计时。资料显示,惠州华讯成立于 1998 年 8 月,是一家港澳台法人独资的老牌制造企业,主要从事工程塑料制品、塑胶合金、网络分配器及端子的生产制造,产品全部为外销。
紧跟着,9 月 4 日,东莞市安道迩科技有限公司也宣布解散。资料显示,安道迩主营业务是电子、五金等,主要产品是电子烟。其称由于近年来市场竞争加剧、经营成本持续上涨、订单量急速萎缩,使得公司陷入困境。时至今日已扭亏无望,生产经营难以为继,因此安道迩决定于 2025 年 9 月 2 日开始停产结业,并正式进入到解散清算程序。

图源:网络
除了以上,近期,迅达电器配件(深圳)有限公司等也称因经营不善决定提前解散公司。深究这些外贸工厂倒闭的背后,其实与永生电器存在共同的难题。它们的商业模式偏向于传统模式,对外依存度极高,企业缺乏创新意识、过度依赖单一市场等,一旦市场需求发生变化,这些跨境厂商受到影响较大。
倒闭潮中如何屹立不倒
这一波跨境厂商的倒闭潮,也引起了同行的警觉。当前,跨境行业已从蓝海转变为红海,仍在坚持的跨境卖家也不能高枕无忧。
根据 AMZ123 的调查,2024 年超过六成跨境卖家表示净利润较 2023 年有所下滑,其中 32% 的卖家净利润下滑幅度超过了 50%。尤其是当外部成本上升时,以低价为核心的传统企业无法通过提价来转嫁成本,只能被迫牺牲利润。加上持续上涨的物流仓储费和营销广告费,对利润是个巨大的挑战。
此外,跨境企业较为缺乏高阶的跨境电商运营人才,如数据分析、品牌营销专家,导致无法实施精细化管理。这种人才结构与当前行业对精细化运营、数据驱动决策的需求脱节。
同时,知识产权侵权和仿品问题也普遍存在,一旦跨境卖家的账户因违规被封,不仅周期漫长,还可能直接导致资金链断裂,这对于员工数量在 50 人以下的中小企业而言,往往是致命一击。
虽然部分上市的跨境电商巨头如安克创新、巨星科技等能够实现营收过百亿,并实现了正向增长,但这种头部企业的繁荣与大多数中小企业的利润断崖式下跌形成了反衬。
这也表明跨境电商行业正在经历一场“强者恒强、弱者出局”的残酷洗牌,未来的竞争会愈发激烈。2025 年的行业“倒闭潮”是市场优胜劣汰的必然结果,它传递了一个明确的信号,即依赖低价和粗放铺货的传统商业模式或许已走到尽头。
那么未来传统跨境厂商该何去何从?从当前的发展趋势来看,未来跨境卖家更倾向于构建多平台、多渠道的立体化销售网络,从而实现全链路触达。企业需要打破单一依赖,将业务从亚马逊等主流平台,拓展到沃尔玛、eBay、Lazada、乐天等其他平台,并积极发展自身的独立站和社交媒体渠道。
从成功的案例来看,日化香料生产商辽宁德罗西化学科技有限公司的转型,主要通过自建跨境电商独立站,上半年外贸出口额同比增长 60%。卫浴产品外贸工厂杭州富瑞浦电子商务有限公司则是通过入驻第三方平台,直接触达更多消费者,提升供应链选品及品牌孵化能力。

图源:富瑞浦官网
此外,成功转型的还有杭州嘉云数据、杭州维丽杰旅行用品有限公司、杰晞品牌管理(杭州)有限公司等,它们或利用大数据技术驱动平台化运营,或自建团队与海外仓、品牌建设(自创+收购),或通过本地化仓储等,积极拥抱渠道变革,从“中国制造”向“中国品牌”转型。
总的来说,国内传统跨境企业向跨境电商转型,并非简单的渠道更替,而是一场涉及战略转换、组织架构、产品开发、品牌塑造和供应链管理的全方位深度变革。需要企业保持持续学习的心态和快速试错、迭代优化的能力。







其他
12-11 周四







